background image

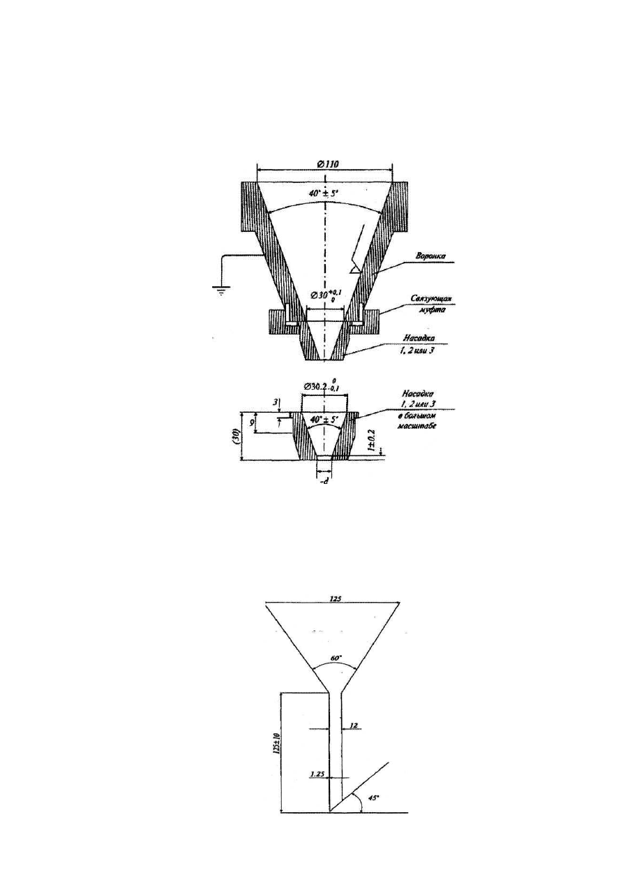
навеска  испытуемого  материала  неравномерно  высыпается  из  воронки  с 
насадкой 

1

,  последовательно  определяют  сыпучесть,  используя  воронку  с 

насадкой 

2

 или 

3

 

 

 

Рис. 1 – Воронка без выходного ствола (бункер) со сменной насадкой 

Насадку изготавливают из нержавеющей кислотоупорной 

стали (V4A, CrNi).

 

Размеры указаны в мм

 

 

 

Предыдущая <  | 2190  | > Следующая  | Главная  | pharma-14@mail.ru |  pharmacopeia.ru | Скачать в PDF