background image

 

 

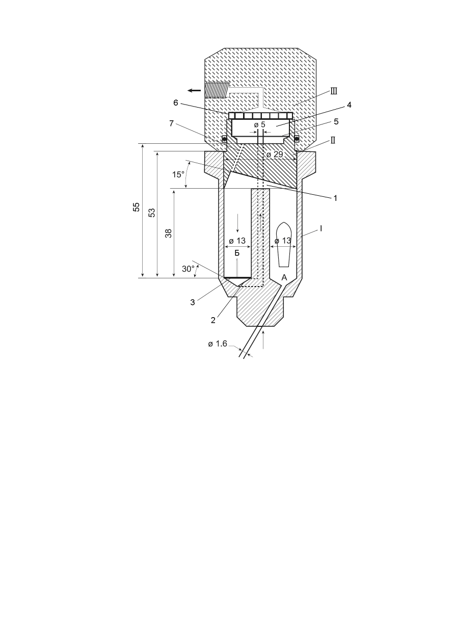
Рис. 2 – Проточная ячейка 

Размеры указаны в мм 

А – камера с восходящим потоком; Б – камера с нисходящим потоком; 

1 – переливное отверстие; 2 – выходное отверстие; 3 – сито с остриём; 

4 – полость для сбора липофильных наполнителей; 5 – металлическая сетка; 

6 – фильтр; 7 – капилляр 

 

Среда растворения 

Если  среда  растворения  содержит  буферный  раствор,  то  доводят 

значение  рН  до  заданного  (допустимое  отклонение  значения  рН  ±  0,05). 
Перед использованием среда растворения должна быть деаэрирована. 

Методика испытания 

Одну  дозированную  единицу  испытуемого  лекарственного  препарата 

помещают  в  камеру  А.  Закрывают  ячейку  подготовленной  фильтрующей 

Предыдущая <  | 2185  | > Следующая  | Главная  | pharma-14@mail.ru |  pharmacopeia.ru | Скачать в PDF