background image

 
 
 
 
 
 
 
 
 
 
 
 
 
 
 
 
 
  
 
 

 

 

Методика для аэрозолей  

(дозированных ингаляционных лекарственных форм,  

находящихся под давлением) 

 

По  20  мл  растворителя,  указанного  в  фармакопейной  статье  или 

нормативной  документации,  помещают  в  ступени  1 

  4,  закрывают 

пробками.  Наклоняют  аппарат,  чтобы  смочить  пробки  для  нейтрализации 
электростатического  заряда.  Устанавливают  фильтр  в  держатель  на 
ступени 5,  собирают  прибор.  Адаптер  закрепляют  на  входном  порте  таким 
образом,  чтобы  конец  мундштука  испытуемого  ингалятора  находился  на 

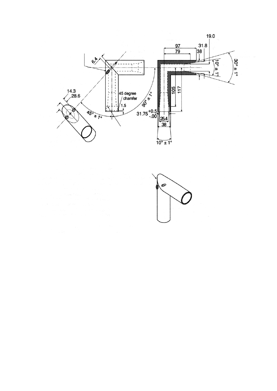
Рис. 8 – Детальное изображение входного порта

  

Размеры приведены в мм, если не обозначено иначе 

изометрическое изображение 

сечение должно быть герметичным 

 

 

 

 

 

 

 

 

 

 

 

 

 

 

 

 

 

 

 

 

 

не отламывать края 

 

 

 

 

 

 

 

 

 

 

 

 

 

 

 

 

 

 

 

 

 

 

 

 
зазор винта должен быть 

минимальным 
 

 

 

 

 

 

 

 

 

 

 

 

 

 

 

 

 

 

 

 

 

 

 

 

 

 

 

 

 

 

Предыдущая <  | 2094  | > Следующая  | Главная  | pharma-14@mail.ru |  pharmacopeia.ru | Скачать в PDF