background image

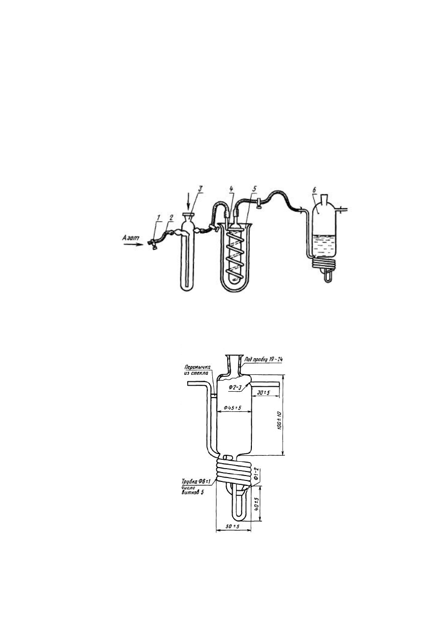
К  короткой  трубке  испарителя  присоединяют  змеевиковый 

конденсатор.  По  длинной  трубке  в  испаритель  вводят  газообразный  азот  и 
продувают  установку  в  течение  5

10  мин.  Затем,  не  прекращая  тока  азота, 

охлаждают  испаритель  кислородом  медицинским  жидким,  а  конденсатор 
погружают  в  сосуд  Дьюара  с  кислородом  медицинским  жидким. 
Охлаждённую  систему  продувают  в  течение  5

10  мин.  Затем  помещают

 

в 

испаритель  250  мл  испытуемого  кислорода  медицинского  жидкого.  Плотно 
закрывают испаритель и зажим на длинной трубке.

 

 

Рис.7. Установка для определения углерода

 

диоксида

 

1 – 

зажим, 2 

– 

резиновая трубка, 3 

– 

испаритель,

 

4 – 

змеевиковый конденсатор, 5 

– 

сосуд Дьюара с

 

жидким кислородом, 6 

– 

абсорбер

 

 

Рис.

8

. Абсорбер

 

Все размеры указаны в миллиметрах 

4073 |  Главная  | pharma-14@mail.ru |  pharmacopeia.ru |